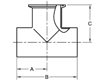
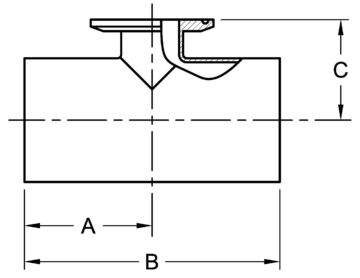
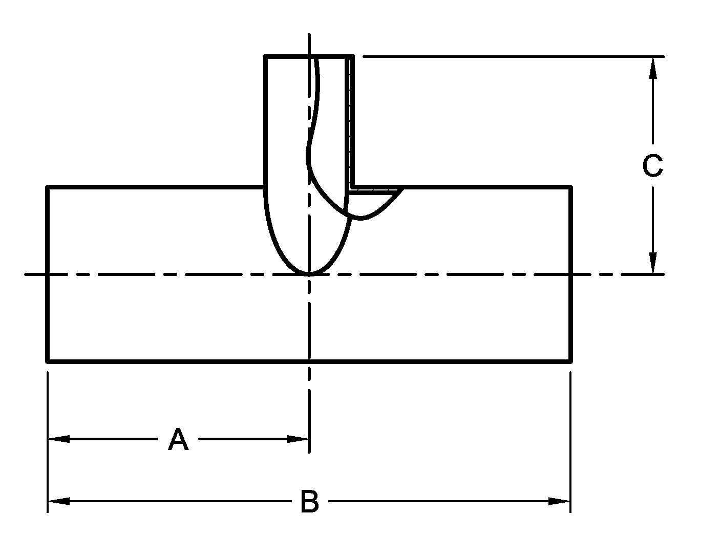
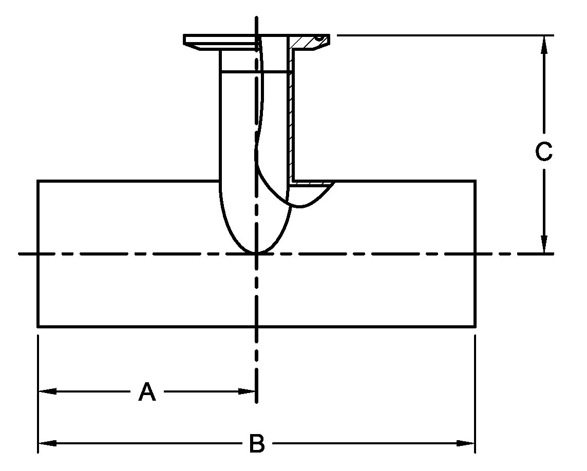
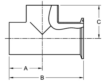
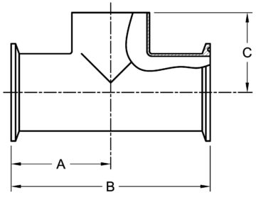
Steel & O’Brien makes sanitary simple with a wide range of fittings meant for process piping. Among our many offerings are butt weld tees and crosses, which serve to divert product flow or transition from a pipeline of one diameter to another that’s either smaller or larger. Made from durable stainless steel, our sanitary butt weld fittings deliver reliable performance and help meet strict regulatory standards.
Our butt weld tee and cross fittings are designed to meet the strictest hygienic standards, with smooth, crevice-free interiors that ensure easy cleaning and prevent the buildup of harmful bacteria. This is why industries with strict hygiene standards – such as food and beverage, pharmaceutical, and dairy – rely on our butt weld cross and tee products.
Why Choose Steel & O’Brien?
Our goal is always to make sanitary simple for our customers, and we achieve this by being laser-focused on the quality and durability of our products. Our butt weld reducing tees and other fitting options come in a variety of sizes to fit virtually any type of process piping infrastructure your facility may have, and you can depend on them to deliver exceptional performance in every regard.
If you’d like to learn more about our full range of sanitary fittings, browse through the product listings on this page or reach out to speak with one of our representatives. We can help you find the components that provide the right fit for your needs.












