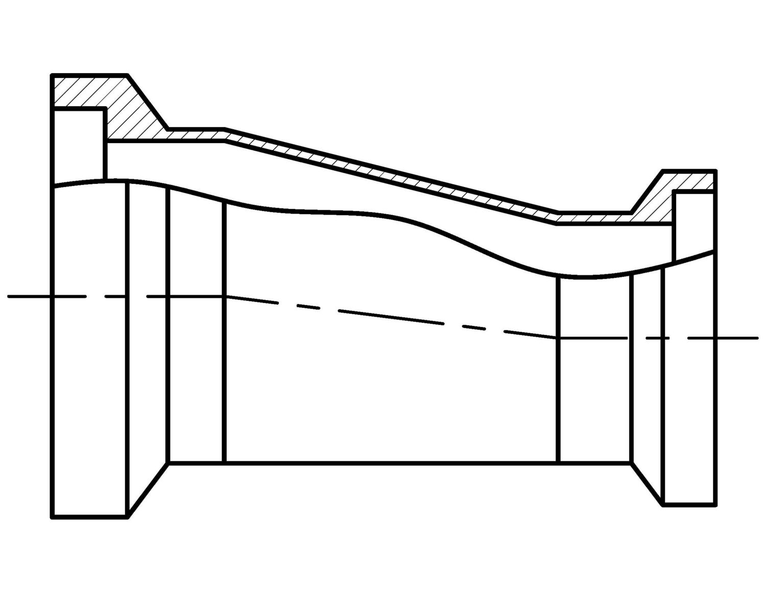
32-15I-15I CONCENTRIC REDUCER, FEMALE ENDS

Contact Us

If you are interested in this product, please contact us for further assistance.

Ready to Order?

Did you know

that the Partner Portal allows you to:

  • View available inventory
  • Access MTRs immediately
  • Simplify your order history with Customized Order View 

Sign Up Today