Features:
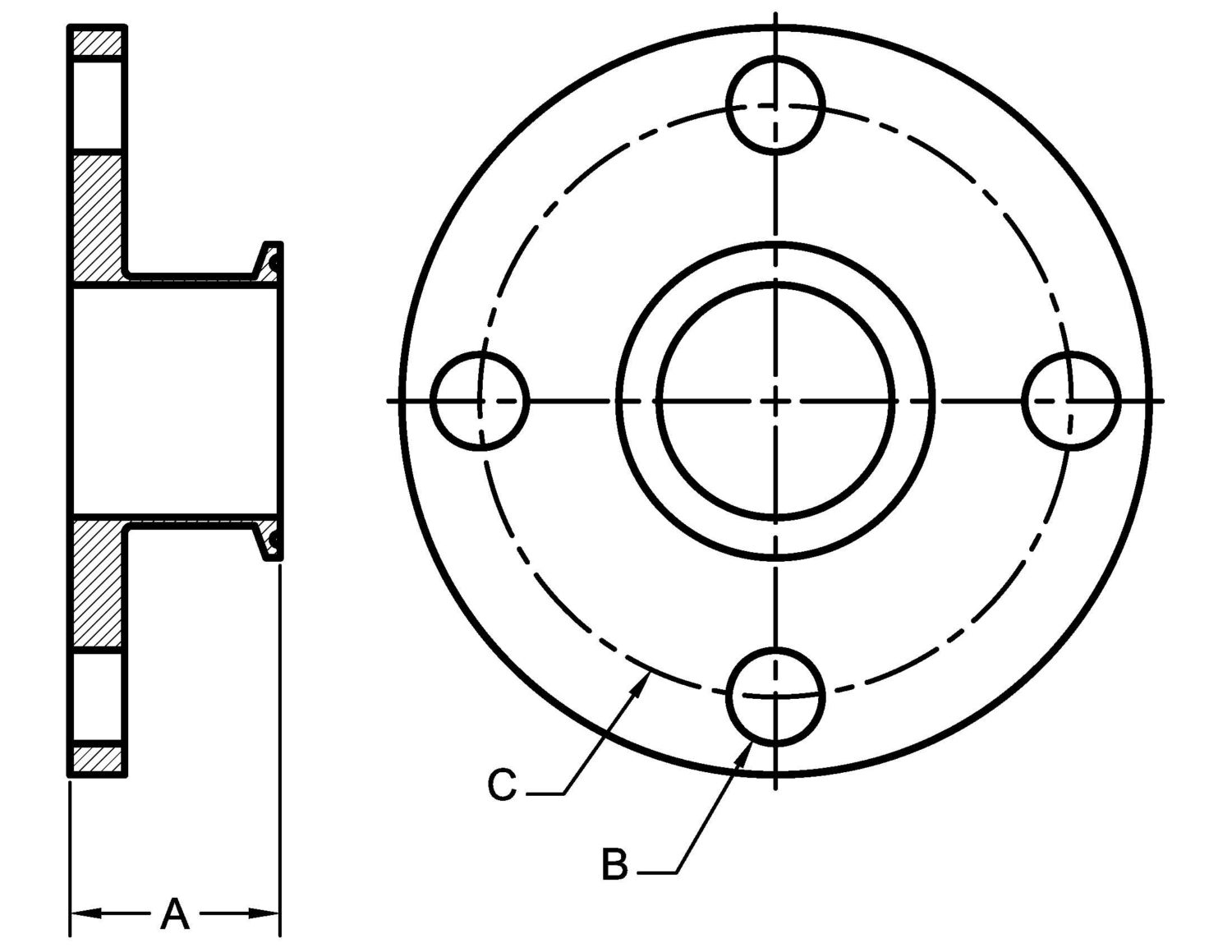
Flange gasket kit available. Flanges are flat face, light duty, 4″ and up have 8 bolt holes (150lb bolt hole pattern all sizes)
| Part Number | Size (inches) | A | B | C |
|---|---|---|---|---|
| 38MP-1 | 1 | 1.625 | 0.625 | 3.125 |
| 38MP-1.5 | 1 1/2 | 1.625 | 0.625 | 3.875 |
| 38MP-2 | 2 | 1.688 | 0.750 | 4.750 |
| 38MP-2.5 | 2 1/2 | 1.688 | 0.750 | 5.500 |
| 38MP-3 | 3 | 1.750 | 0.750 | 6.000 |
| 38MP-4 | 4 | 1.750 | 0.750 | 7.500 |
| 38MP-6 | 6 | 2.188 | 0.875 | 9.500 |
Flange gasket kit available. Flanges are flat face, light duty, 4″ and up have 8 bolt holes (150lb bolt hole pattern all sizes)